手机版
站群导航
教育主站
小学
白鹿小学
世茂小学
城南小学
金港中心小学
凤凰中心小学
乘航小学
合兴小学
东莱小学
青龙小学
塘桥中心小学
中兴小学
徐市小学
沙洲小学
闸上小学
农联实验小学
文昌小学
中学
梁丰高级中学
沙洲中学
暨阳高级中学
外国语学校
常青藤实验学校
崇真中学
凤凰高级中学
张家港市第八中学
后塍学校
塘桥初级中学
南丰中学
梁丰高中高新区实验学校
塘桥高级中学
张家港高级中学
幼儿园
新塍幼儿园
新南幼儿园
后塍幼儿园
白鹿幼儿园
金港中心幼儿园
金香幼儿园
城北幼儿园
东湖苑幼儿园
崇真幼儿园
塘桥中心幼儿园
悦丰幼儿园
南丰实验幼儿园
沙洲幼儿园
港区幼儿园
滨湖幼儿园
新塘幼儿园
农联幼儿园
新康葩幼儿园
西溪幼儿园
锦阳幼儿园
乐余实验幼儿园
南沙幼儿园
文昌幼儿园
韩山幼儿园
职业学校
张家港开放大学
舞蹈学校
张家港中等专业学校
第三职业高级中学
×
搜索过于频繁,请输入验证码
网站首页
园所介绍
园所简介
联系方式
教师风采
园内风景
园务公开
通知公告
办园理念
园务公示
荣誉展示
园长直通
新闻动态
教育科研
科研动态
已结题课题
正在进行中
安全保健
安全
保健
安全检查
应急预案
家园直通
家园活动
亲子游戏
童话故事
挂牌督导
政策法规
督学公示
督学进校
您的位置:
首页
>
安全保健
>
安全检查
>
详细内容
安全检查
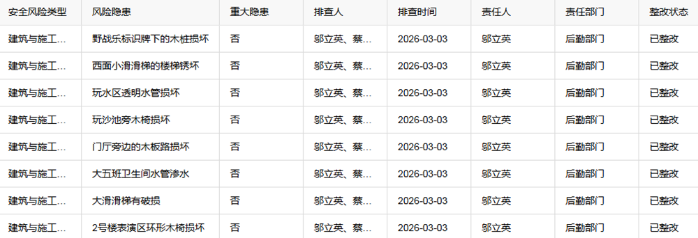
安全检查排查(2026.03)
来源:
发布时间:2026-03-06 12:06:39
浏览次数:
次
【字体:
小
大
】
终审:南幼电教组
分享到:
【打印正文】
×
用户登录
登 录
|
账号密码登录
成功登录后,
关闭浏览器前
24小时内
7天内
一个月内
始终
保持登录状态
忘记密码?
×
确定
用户登录